SW 32 Ti Swinging-Bucket Rotor
Product No:369650
Product Specifications
| Platform | Floor Prep |
| Rotor Type | Swinging-Bucket (Ultracentrifugation) |
| Maximum RPM | 32,000 rpm |
| Max g-Force | 175000 xg |
| k-Factor | 204 |
| Adapters | 355536, 358156, 392833 |
| Number of Tubes | 25 x 89 mL, 6 x 38.5 mL |
| Caps and Spacers | 355536 │ 392833 |
| Nominal Capacity | 231mL |
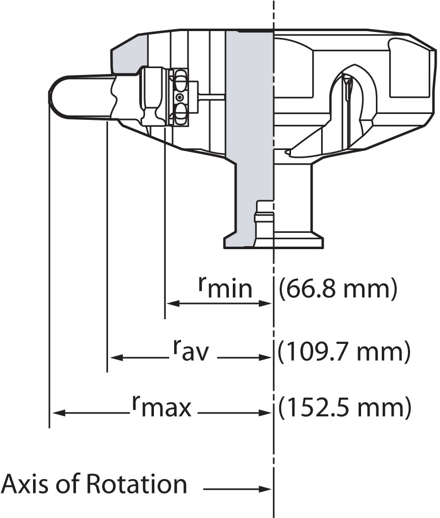
| rMAX | 152.5 |
| rMIN | 66.8 |
| rAV | 109.7 mm |
| BioSafe | Bio-Enhanced |
| Materials | Titanium |
| Package Quantity | 1 |